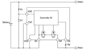
先進的便攜設備明確要求更精確的電池電流控制及小封裝。安森美半導體推出新的鋰離子電池保護控制器,用于智能手機和平板電腦。高度集成的LC05111CMT利用模擬電路技術、MOSFET技術、先進封裝專知和技術,在單個電路中集成控制器及驅動器功能,幫助縮短充電時間,及為電池充電電路提供多級保護。
LC05111CMT實現了高精度電流控制,無須使用電流檢測電阻。這電流控制由于支持更大充電電流,故能縮短充電時間 。這器件包含高精度電流檢測電路及檢測延遲電路,以預防電池過度充電、過度放電、過大電流放電及過大電流充電。高集成度減少元件數量,因而減少占用空間受 限的電池組中所需的電路板空間。LC05111CMT采用無鉛及無鹵化物WDFN-6封裝。
 |